CILINDRO SERIE WX1000 30X30 NIQUEL
Referencia: 1000WX30X30N
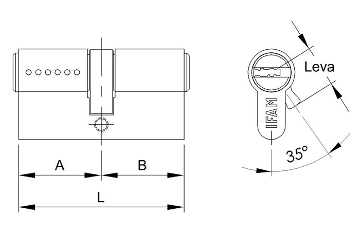
L A B 1000WX3030N 60 30 30
| Perfil: | – Europeo. – Certificado según Norma EN:1303:2015, superando los estándares que ésta marca. |
| Cuerpo: | – Fabricado en latón extruido. – Acabados en níquel mate y latón. |
| Sistemas de seguridad: | – Triple protección antibumping. Incluye un innovador sistema con doble pitón y doble muelle. – Puente reforzado antirrotura, fabricado en acero inoxidable y unido al cuerpo del cilindro por 4 pasadores de acero inoxidable. – Máxima protección antitaladro con barras en el rotor y el cuerpo, coraza en la zona inferior y pitones adicionales de acero. – Protección antiganzúa. |
| Elementos internos: | – 16 pitones activos y amaestrables, con millones de combinaciones. |
| Leva: | – Disponible en leva larga (15 mm) y leva corta (13 mm). |
| Variantes: |
– Cilindro estándar, medio cilindro, cilindro con pomo, cilindro con eje regulable, con lengüeta regulable para barras antipánico y con ángulo de leva regulable. |
| Llaves: | – Llave de de puntos de seguridad. Perfil de llave patentado por IFAM (nº 2.061.242). – La llave está fabricada en alpaca y cuenta con cabeza sobremoldeada en resina ABS de gran resistencia, para mayor comodidad de uso. – Se suministra con 5 llaves. – Incluye tarjeta de propiedad con el sistema de seguridad CDC (Control Code System). Máximo nivel de seguridad, control y trazabilidad de la copia de llaves por parte del usuario. |
| Presentación: | – En caja (individual y de grupo). |


